تصفح الكمية:0 الكاتب:محرر الموقع نشر الوقت: 2026-02-28 المنشأ:محرر الموقع
وظيفة قالب اسطوانة آلة الورق
قالب الأسطوانة هو المكون الرئيسي الذي يتم عليه تشكيل شبكة الورق في آلة الورق الأسطوانية. اطلب منه تصفية المياه بالتساوي وعدم توليد انفعالات مفرطة في الخزان الشبكي أثناء الدوران. يجب أن يتمتع قالب الأسطوانة بالصلابة الكافية والأبعاد الهندسية الدقيقة، ويجب تركيبه أفقيًا.
ينقسم قالب الأسطوانة إلى: قالب الأسطوانة العادي، ونوع الرقاقة، والشفط، والفراغ وفقًا لهيكلها؛ مقسمة حسب المواد: عادية، جميع النحاس، قالب اسطوانة الفولاذ المقاوم للصدأ.
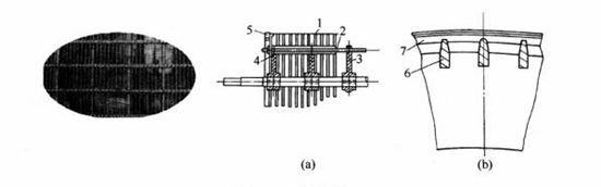
الصورة أدناه عبارة عن رسم تخطيطي لهيكل قالب الأسطوانة النموذجي.

يتم تركيب جهاز ضلع دعم نحاسي يسمى المتحدث على عمود الحديد الزهر، مع مسافة 100-150 مم. تدعم المتحدثات حافة العجلة المركزية وتحيط بها الأخاديد. تم تجهيز الأخاديد بقضبان أفقية بنفس طول قالب الأسطوانة. يبلغ قطر الشريط الأفقي حوالي 1 سم، مع مسافة من المركز إلى المركز حوالي 4 سم، موازية للمحور المركزي. الشريط الأفقي مصنوع من الفولاذ أو النحاس، ويمكن أن يكون مقطعه العرضي دائريًا أو مستطيلًا. يتم صب العجلتين الخارجيتين بحلقات بارزة لتشكيل ختم مع الأجزاء المقابلة من أخدود الشبكة، مما يعزل الجزء الداخلي والخارجي من قالب الأسطوانة. طحن الأخاديد الصغيرة المسننة على الشريط الأفقي وفق خط حلزوني، ولف سلك معدني متواصل يبلغ قطره حوالي 3 مم بشكل حلزوني حول قالب الأسطوانة لتكوين إطار أسطواني شبكي على شكل أسطوانة. تبلغ الفجوة بين الأسلاك المعدنية المجاورة حوالي 1 سم. أخيرًا، قم بتغطية السلك النحاسي بطبقة أكثر سمكًا من شبكة النحاس أو الفولاذ المقاوم للصدأ، ثم قم بتغطيته بشبكة أرق تستخدم في صناعة الورق. كل من الشبكة الداخلية والشبكة السطحية عبارة عن شبكة نهائية، والتي يتم شدها على إطار قالب الأسطوانة بأدوات خاصة ومتصلة بواسطة لحام الفضة أو اللحام الكهربائي. يجب أن يكون التجميع النهائي مستديرًا للغاية ومتحد المركز مع المحور المركزي، مع صلابة كافية لتحمل ضغط البكرات دون تشوه. نطاق قطر قالب الأسطوانة القياسي حوالي 1-1.5 متر، والمواصفات الشائعة الاستخدام هي 1.2 متر.
يقع جهاز تحمل قالب الأسطوانة خارج أخدود الشبكة. يتم توصيل طرفي قالب الأسطوانة بالصندوق الجانبي لفتحة الشبكة. بعد توصيل اللب بالشبكة، يدخل الماء الأبيض الذي يتم ترشيحه إلى قالب الأسطوانة عبر شبكة نحاسية إلى الصندوق الجانبي من طرفي قالب الأسطوانة، ومن ثم يتم ضخه للخارج بواسطة مضخة مياه بيضاء لإعادة التدوير.

الشبكة الداخلية لقالب الأسطوانة تكون بشكل عام من 8 إلى 16 شبكة، وتستخدم بشكل رئيسي لتفريق ضغط الأسطوانات والحفاظ على الشبكة السطحية مسطحة. الشبكة كثيفة نسبيًا وتستخدم لتصفية الألياف لتكوين شبكة ورقية، تتراوح عادةً بين 40-100 شبكة. يعتمد اختيار حجم الشبكة بشكل أساسي على تنوع الورق المنتج، وحجم الشبكة الأكثر استخدامًا لإنتاج الورق الثقافي العام هو 65 شبكة.
يوضح الشكل التالي الشكل الهيكلي لقالب الأسطوانة من نوع الرقاقة. يشير قالب الأسطوانة من نوع الرقاقة إلى تغيير القرص الخارجي لقالب الأسطوانة العادي من سلك نحاسي بقطر 3 مم إلى لوحة من الفولاذ المقاوم للصدأ ذات مقطع عرضي مستطيل. ميزاته الرئيسية هي: زيادة مساحة الترشيح وسرعته، وتحسين الإنتاج؛ تحسين جودة الورق، بما في ذلك الاتساق والوزن ونسبة العرض إلى الارتفاع وتقليل تكاليف الاستهلاك والصيانة للشبكات النحاسية واللباد والمواد الأخرى؛ تعزيز السلامة الشاملة والأداء المضاد للتآكل للمعدات، مع قوة عالية، وصلابة جيدة، ومتانة. هناك ثلاثة أنواع من القوالب الأسطوانية التي تم تطويرها وإنتاجها: رقاقة المرور، رقاقة اللف، والرقاقة المائلة.
![]() | ![]() |